
先附上8个问题,可思考后再看后面的答案解析。
1.什么是订货点库存控制法?它要确定哪些参数?
2.简述基本MRP的计划逻辑。
3.物料需求计划与订货点理论的根本不同点是什么?
4.什么是闭环MRP计划理论?它与基本MRP计划理论有什么异同?
5.什么是MRP-II计划理论?它与闭环MRP计划理论有何异同?
6.你能画出MRP-II的逻辑流程吗?
7.ERP是什么?它是软件还是一种管理理论?
8.ERP与MRP-II有何异同?
1. 什么是订货点库存控制法?它要确定哪些参数?它的应用条件是什么?
答:订货点库存法是指根据安全库存设置一订货点,当物料的库存数量低于该订货点时,进行订货采购。
它要确定的参数包括:最大库存量、安全库存量、订货点,订货提前期。
订货点库存=安全库存前置期库存
安全库存是为满足生产或销售的正常进行而备有的库存
前置期库存 = 订货前置期*日均销量(用量)
▷速达5000.Online PRO ERP管理系统
订货点应用的条件:
①物料的消耗相对稳定;
②物料的供应比较稳定;
③物料的需求是独立的;
④物料的价格不是太高。
2. 简述基本MRP的计划逻辑。
答:基本MRP的计划逻辑是:
根据主生产计划、物品库存信息以及产品结构信息确定物料需求计划,根据物料需求计划确定物料采购计划(订货日期、到货日期、数量)和安排加工计划(开工日期、完工日期、数量)。
按照产品结构进行物料分解,确定不同层次物料的总需求量;
根据产品最终交货期和生产工艺关系,反推各零部件的投入出产日期;
根据库存状态,确定各物料的净需求量;
根据订货批量与提前期最终确定订货日期与数量。
3. 物料需求计划(基本MRP)与订货点理论的根本不同点是什么?
答:订货点理论是根据生产需求不断提高订货点,不能反映物料的实际需求。
物料需求计划考虑了物料的实际需求(物料需求计划会结合主生产计划、物品库存信息和产品结构信息来确定),强调“在需要的时候提供需要的数量”。
▷速达A50.Cloud PRO ERP管理系统
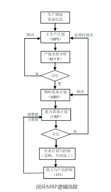
4. 什么是闭环MRP计划理论?它与基本MRP计划理论有什么异同?
答:闭环MRP理论沿承了基本MRP计划理论,认为主生产计划和物料需求计划是可行的,但是要考虑能力的约束,或者对能力提出需求计划,在满足能力需求的前提下,才能保证物料需求计划的执行和实现。
且能力的执行情况会最终反馈到计划制定层,整个过程是能力的不断执行调整的过程。
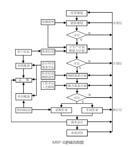
5.什么是MRP-II计划理论?它与闭环MRP计划理论有何异同?
答:MRP-II计划理论即制造资源计划,其围绕企业的基本经营目标,以生产计划为主线,是对企业制造的各种资源进行统一计划和控制的有效系统,也是企业物流、信息流和资金流并使之畅通的动态反馈系统。
相比于闭环MRP计划理论,MRP-II计划理论集成了应收、应付、成本以及总账的财务管理。整个产品制造过程都伴随着资金流通的过程。
通过对企业生产成本和资金运作过程的掌握,调整企业的生产经营规划和生产计划,从而得到更为可行和可靠的生产计划。
6.你能画出MRP-II的逻辑流程吗?
7.ERP是什么?它是软件还是一种管理理论?
答:ERP是建立在信息技术基础上,利用现代企业的先进管理思想,全面集成企业所有资源信息,并为企业提供决策、计划、控制与经营业绩评估的全方位和系统化的管理平台。
ERP不仅仅是信息系统(软件),还是一种管理理论和管理思想,由于这种管理思想必须以软件为载体实现,所以大家常把ERP认为是一种软件。
8.ERP与MRP-II有何异同?
答:ERP是由MRP-II发展而来,继承了MRP-II的基本思想(制造、供销和财务),另外还扩展了管理模块,如供需链管理、多工厂管理、质量管理、分销资源管理等,融合了离散型生产和流程型生产的特点,扩大管理范围,业务活动开展更加灵活,可以实时地响应市场需求。
参考资料:
[1] 《ERP原理·设计·实施》罗鸿编著
注:本文相关流程附图均出自资料[1],仅供学习交流使用。